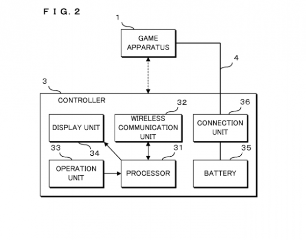
Nintendo has filed a patent for a console without a disc drive, leading many to assume it may be for the yet to be revealed Nintendo NX system. The controller patented alongside of it contains a display screen, similar to the Wii U Gamepad.
Nintendo is always filing patents, just like Sony and Microsoft, so take that into consideration before you get too excited – or disappointed.
We saw the patent posted on NeoGAF yesterday toward the end of our shift, and because it’s very technical, it made us cry. Luckily, Eurogamer broke things down for us a bit more.
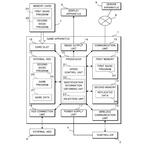
According to information gleaned from the patent filing with the USPTO, instead of an optical drive, the console patented includes an internal hard disc drive “storing a program and/or data, a communication unit transmitting/receiving a program and/or data via a network, and a processor executing a program stored in the hard disc drive to perform game processing.”
Xbox One didn’t have disc drive when it was first conceptualized, so as EG points out, things may change down the road if this patent is indeed for the Nintendo NX system.
During an investors meeting in March, Nintendo’s former president and CEO Satoru Iwata said the company wanted to “surprise” fans with its newest hardware as expanding upon existing hardware was “dull”. He also said the firm’s idea of what makes a “gaming platform has gradually changed.”
He went on to say the platform would include a “new concept” and more details would be revealed next year.
In July, Taiwanese supplier and manufacturer Foxconn was reportedly given the go-ahead by Nintendo to start “pilot production” on NX in October, with the console slated for release in July 2016.


Comments
Post a Comment